Feedback
AhlsellTuotteetSähköAsennustuotteet 11-2814 KaapelitietJohtokanavatAsennuskanavatHaaroitukset (L-T-X)



Hager
T-kappale Hager Tehalit.FWK
T-KAPPALE TEHALIT.FWK R3026 FWK3E 50X60 LVA
Tuotenumero Toimittajan tuotenumero:
1476168
R30269016
Nähdäksesi varastosaldon ja hinnan
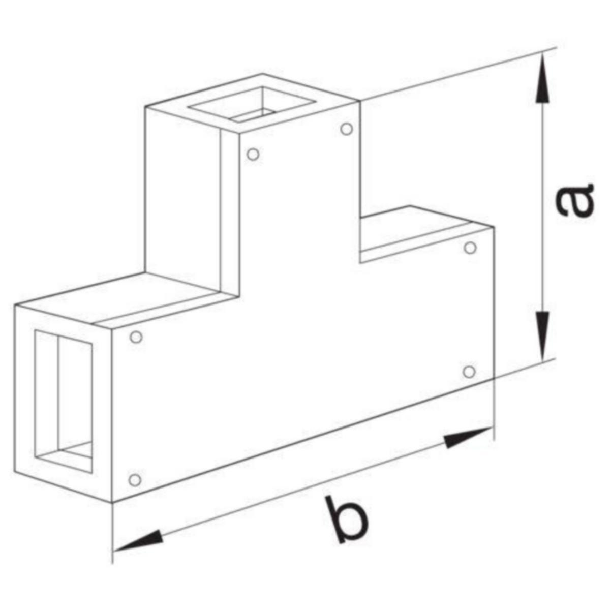
T-kappale palosuojakanavalle FWK3E5006009016, suunnanmuutoksiin palosuojakanava-asennuksissa. Muoto-osa on varusettu naarasponteilla kanavaliitoksille. Pintamateriaali teräs paloa suojaavan kipsilevyeristeen päällä.
- Tuotenumero 1476168
- Toimittajan tuotenumero: R30269016
- EAN koodi: 4012740020060
- Materiaaliluokka S1420B
Tekniset tiedot
- Pakkauskoot: 1 KPL/50 KPL
- Palonkestoluokka E - toimintavarmuus: 30
- Suojavaruste: ruuvattava
- Käytettävä poikkipinta: 2950 mm²
- Perforoitu pohja: kyllä
- RAL-numero: 9016
- Osastointimahdollisuus: kyllä
- Päällystys: teräs
- Ulkoleveys: 100 mm
- Sisäleveys: 59 mm
- Sisäkorkeus: 50 mm
- Ulkokorkeus: 88 mm